#5发电机滑环碳刷环火机组停运案例分享
2023-06-06 OD体育在线注册,OD体育(中国)
发电机碳刷打火怎么办?
2023-06-05 OD体育在线注册,OD体育(中国)
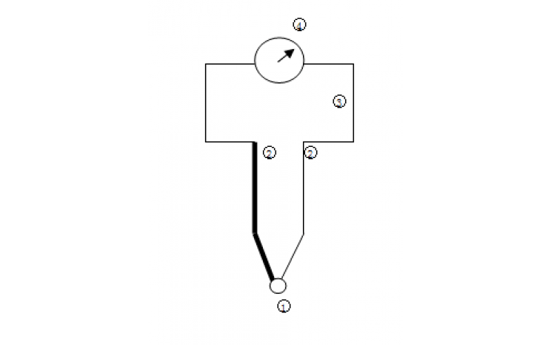
热电阻和热电偶的区别及故障处理方法
2023-05-12 OD体育在线注册,OD体育(中国)
弄懂变压器的油温与绕组温度
2023-04-28 OD体育在线注册,OD体育(中国)
通过案例分析轴瓦温度在汽轮机中的应用
2023-04-25 OD体育在线注册,OD体育(中国)
分享电仪工程师总结的电仪维护禁忌56条
2023-04-12 OD体育在线注册,OD体育(中国)
热电偶一些影响检测结果却容易被忽视的问题
2023-04-10 OD体育在线注册,OD体育(中国)
浅析热电偶各分度号的含义及常见故障处理分享
2023-04-04 OD体育在线注册,OD体育(中国)